8 (800) 775 40 55
Звонок из регионов России
бесплатный!
бесплатный!
Профессиональный строительный инструмент и оборудование
Каталог инструментов
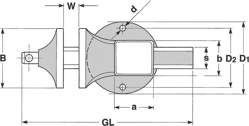
Тиски слесарные настольные с наковальней Ridgid Junior 140
Тиски слесарные настольные с наковальней Ridgid Peddinghaus Junior 140 (Риджид Педдинхаус Джуниор 140) предназначены для работ средней тяжести, полупрофессионального использования и продвинутых домашних пользователей, но обладают теми же свойствами, что и основная линейка тисков Ridgid. Известны своим качеством и долговечностью. Производят в Германии уже свыше 100 лет.
Производитель: RIDGID (РИДЖИД) – США.
Преимущества тисков слесарных настольных с наковальней Ridgid Junior 140:
- Вся линия комбинированных трубных и слесарных тисков изготовлена из стали с применением технологии горячей штамповки для повышения прочности и долговечности. В отличие от чугунных тисков, тиски Ridgid изготовлены из высококачественной 75.000 PSI эластичной стали. Вся конструкция из кованной стали в 3 раза прочнее, чем из чугуна
- Мощные, изготовленные с применением технологии горячей штамповки, выдерживающие двойные нагрузки, на 20% прочнее литых
- Закаленные и рифленые губки для максимальной прочности
- Система регулировки параллельных губок обеспечивает точный зажим и более долгий срок службы
- Широкая прочная наковальня для правки и штамповки
- Винт с трапецеидальной резьбой дает возможность быстро регулировать расстояние между губками и защищать механизм от попадания грязи и отходов
- Накатанная двухзаходная трапецеидальная резьба для точности операции и долговечности
- Корпус шпинделя защищает гаечную резьбу от попадания грязи
- Патентованное, термически обработанное, регулирующее, направляющее устройство гарантирует точный параллельный зажим даже после многих лет службы
- Механически обработанная и закаленная поверхность скольжения направляющей для максимальной точности
- Съемная стальная шпиндельная гайка
- Измерительная шкала
- Рукоять со сменными резиновыми травмозащитными кольцами имеет больший срок службы и низкий уровень шума
- Дополнительные принадлежности:
– Поворотное основание на 360° обеспечивает надежную фиксацию тисков в любом положении
– Струбцина для крепления тисков на верстаке
– Механический подъемник служит для поднятия или опускания тисков на нужную рабочую высоту (регулировка высоты: 200 мм)
– Автоматический подъемник (регулировка высоты: 300 мм)
– Механический складной подъемник Peddi-Lift складывается под верстак, чтобы освободить на верстаке место для другой работы
| Артикул | Наименование | Вес |
| 10217 | Поворотное основание на 360° | 1,3 кг |
| 10225 | Струбцина | 2,1 кг |
| 10733 | Механический подъемник | 13 кг |
| 10731 | Автоматический подъемник | 15 кг |
| 10331 | Складной механический подъемник Peddi-Lift | 14 кг |
| 40913 | Механический складной подъемник Peddi-Lift | 7 кг |
Цена и технические характеристики тисков слесарных настольных с наковальней Ridgid Junior 140:
-
Коронка алмазная кольцевая по железобетону Kern Diamond Bit Concrete Premium 24 ммДиаметр: 24 ммРабочая длина: 300 - 450 ммЦена: 8 000 руб.
-
Бесщеточная дрель с микроударом для алмазного бурения Keos Pulsar KS-158Диаметр отверстий: 10 - 132 ммМощность: 1,8 кВтЦена: 39 900 руб.
-
Алмазная коронка для сухого бурения с микроударом Адель Diamond Hit DH-D401 172 ммДиаметр: 172 ммРабочая длина: 450 ммЦена: 21 100 руб.
-
V-образная четырехроликовая складная регулируемая опора для труб Remmers Atlant 1/8-12Диаметр труб: 3 - 300 мм (1/8" - 12")Высота: 710 - 1320 мм (28" - 52")Цена: 13 300 руб.
-
Алмазная коронка для сухого бурения с микроударом Адель Diamond Hit DH-D401 172 ммДиаметр: 172 ммРабочая длина: 450 ммЦена: 21 100 руб.
-
Алмазная коронка для сухого бурения с микроударом Адель Diamond Hit DH-D401 225 ммДиаметр: 225 ммРабочая длина: 450 ммЦена: 31 500 руб.
-
Химическое средство для промывки Finktec FINK-KesselsteinloserКонцентрация: 3 - 10%Плотность: 1,14 г/см³Цена: по запросу
-
Алмазная коронка для сухого бурения с микроударом Адель Diamond Hit DH-D400 46 ммДиаметр: 46 ммРабочая длина: 450 ммЦена: 5 500 руб.
Новости
-
26.11.2025Новые поступления для серьёзной работы: спираль и адаптер от Crocodile
-
21.11.2024Поступление желобонакатчиков GruvMaster - Новинка на Российском рынке!
-
27.12.2023С новым 2024 годом!
-
20.12.2022Режим работы в Новогодние праздники
-
12.10.2022ФСБ сообщила о попытке теракта с ПЗРК «Игла» в Подмосковье










Отзывы
Оставьте Ваш отзыв